Компания HAOSAIL владеет более чем 10 патентами на изобретения и 40 патентами на полезные модели, что отражает нашу приверженность исследованиям, разработкам и технологическому прогрессу.
Мы уделяем первостепенное внимание строгому контролю качества и испытаниям, чтобы гарантировать соответствие международным стандартам и требованиям клиентов.
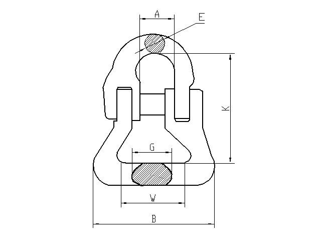
G100 Webbing Connecting Link представляет собой подъемный соединитель, изготовленный из высокопрочной и высокопрочной легированной стали. Он подходит для соединения подъемных ремней и цепей G100 и может использоваться с крючками со скобами и т. Д. Продукт прошел строгие испытания, такие как испытание на 2,5-кратное превышение рабочей нагрузки, магнитопорошковый контроль и т. Д., И имеет надежную работу.
![]()
| Артикул | Размер (мм) | WLL (t) | Размеры (мм) | Вес (кг) | |||||
| A | B | K | W | G | E | ||||
| HS1030601 | 6-10 | 1.4 | 15.2 | 60.0 | 56.0 | 40.0 | 18.0 | 7.5 | 0.20 |
| HS1030602 | 8-10 | 2.5 | 19.0 | 69.6 | 65.8 | 45.6 | 22.4 | 9.0 | 0.30 |
| HS1030603 | 10-10 | 4 | 23.0 | 90.7 | 75.9 | 56.5 | 28.9 | 12.5 | 0.68 |
| HS1030604 | 13-10 | 6.7 | 30.6 | 104.4 | 95.6 | 65.4 | 34.5 | 15.8 | 1.47 |
| HS1030605 | 16-10 | 10 | 36.1 | 131.1 | 115.4 | 80.2 | 42.0 | 19.8 | 2.30 |
| HS1030606 | 20-10 | 16 | 43.3 | 129.0 | 138.0 | 80.0 | 51.8 | 24.0 | 3.30 |
Кованая высоколегированная сталь - закаленная и отпущенная
Подходит для цепи G100
На 25% прочнее, чем G80
Индивидуальное контрольное испытание при 2,5-кратном пределе рабочей нагрузки
Усталостные испытания при 1,5-кратном пределе рабочей нагрузки для 20000 циклов
Для каждой партии продукции проводится строгий отбор проб и испытания на разрыв
100% обнаружение трещин Magnaflux
Все нагрузочные штифты на 100% индивидуально проверяются и тестируются
Обработка поверхности: Пластифицированная порошком
Цветовой код: Синий RAL5015
Предельная нагрузка в 4 раза превышает предел рабочей нагрузки
Конструкция: Подъемный ремень может быть соединен с цепью G100 для формирования композитного стропа для подъема строительных материалов. Он также может использоваться в высотном строительстве для подъема небольшого строительного оборудования и инструментов на высокие рабочие поверхности в сочетании с башенными кранами и другим оборудованием.
Горнодобывающие работы: Во время добычи необходимо поднимать крупногабаритную технику и руду. Соединительное звено ремня G100 может соединять подъемный ремень с цепью для подъема оборудования, такого как дробилки и экскаваторы, или для подъема вагонеток в шахтах. Кроме того, в открытых карьерах его также можно использовать для соединения подъемных ремней и цепей для транспортировки крупных материалов, таких как камень.
Погрузка и разгрузка в порту: В сценариях погрузки и разгрузки грузов в порту подъемный ремень может быть соединен с крюком или цепью для облегчения подъема грузов различной формы и веса. В зависимости от характеристик груза, подъемный ремень и цепь могут быть гибко объединены в многоточечную подъемную стропу для повышения эффективности и безопасности погрузки и разгрузки.
Судостроение и техническое обслуживание: При строительстве судна его можно использовать для соединения подъемного ремня и цепи для подъема крупных компонентов, таких как секции корпуса и главные двигатели судна. Во время технического обслуживания судна он может быть использован в качестве соединительного компонента для подъема гребного винта, руля и других частей судна со стропами для ремонта или замены. Кроме того, когда судно пришвартовано к доку, его также можно использовать для швартовных операций по подключению кабелей и других деталей.
Тяжелое машиностроение: В цехах тяжелого машиностроения при сборке крупногабаритного оборудования соединительное звено ленты G100 может соединять подъемный ремень с цепью или крюком для точного подъема тяжелых деталей, таких как двигатели и коробки передач, в указанное место. Его также можно использовать для транспортировки крупных отливок и поковок для обеспечения безопасного подъема деталей во время обработки и сборки.
Аэрокосмическая сфера: В процессе производства самолетов он используется для подъема крупных деталей, таких как крылья и фюзеляжи самолетов. Его высокоточное соединение и высокопрочные характеристики могут обеспечить стабильность и безопасность деталей во время подъема. В аэрокосмической сфере он также может использоваться для подъема и транспортировки деталей ракет, обеспечивая гарантии на сборку и обслуживание аэрокосмического оборудования.
Q1: Из какого материала изготовлено соединительное звено для ремней G100 и каковы его несущая способность?
Обычно оно изготавливается из высокопрочной и высокопрочной легированной стали, имеет высокую предельную рабочую нагрузку и, как правило, выдерживает вес от 1,25 до 5 тонн, в зависимости от характеристик изделия.
Q3: Какие компоненты может соединять соединительное звено для ремней G100?
Оно в основном используется для соединения подъемного ремня и цепи G100, а также может использоваться с подъемными компонентами, такими как крюки-гвоздодеры.
Q3: Какие меры предосторожности следует соблюдать при установке соединительного звена для ремней G100?
Убедитесь, что соединительные детали чистые и без мусора, и плотно затяните их во время установки, чтобы предотвратить ослабление. Необходимо выбирать изделия с соответствующими характеристиками в соответствии с фактической нагрузкой, использовать их строго в соответствии с номинальной нагрузкой и не перегружать.
Q3: Проходит ли соединительное звено для ремней G100 соответствующие проверки качества и сертификацию?
Изделия должны проходить строгие испытания, такие как 100% испытание на 2,5-кратную предельную рабочую нагрузку, 100% магнитопорошковую дефектоскопию на наличие трещин и т. д., и, как правило, соответствуют действующим международным стандартам, таким как EN 1677. Некоторые изделия также могут иметь сертификат CE и т. д.
Q3: Как ухаживать за соединительным звеном для ремней G100?
Регулярно проверяйте соединительные элементы на наличие износа, трещин и т. д. При их наличии их следует своевременно заменять. Избегайте контакта с едкими веществами. При появлении пятен протрите чистой тканью и храните в сухом проветриваемом месте.
Q3: Каковы размеры соединительного звена для ремней G100?
Обычные диаметры включают 5/16", 3/8", 1/2" и т. д., которые могут различаться в зависимости от производителя. Подробную информацию см. в спецификации изделия или у поставщика.
Если у вас есть вопросы или потребности относительно продукта, пожалуйста, заполните следующую форму, и мы свяжемся с вами как можно скорее.
Аксессуары для G100
Аксессуары для G100
Аксессуары для G100
Аксессуары для G100
Аксессуары для G100
Аксессуары для G100
Аксессуары для G100
Аксессуары для G100
Аксессуары для G100
Аксессуары для G100
Аксессуары для G100
Аксессуары для G100
7-й этаж, здание 93, штаб-квартира R&F, ул. Чанчэн-Саут, д. 1, район Чэньян, город Циндао, провинция Шаньдун, Китай 266109
Copyright © 2025 Qingdao Haosail Machinery Co., Ltd. All Rights Reserved. Работает на Hicheng