 
                    
        Компания HAOSAIL владеет более чем 10 патентами на изобретения и 40 патентами на полезные модели, что отражает нашу приверженность исследованиям, разработкам и технологическому прогрессу.
Мы уделяем первостепенное внимание строгому контролю качества и испытаниям, чтобы гарантировать соответствие международным стандартам и требованиям клиентов.
 
                                     
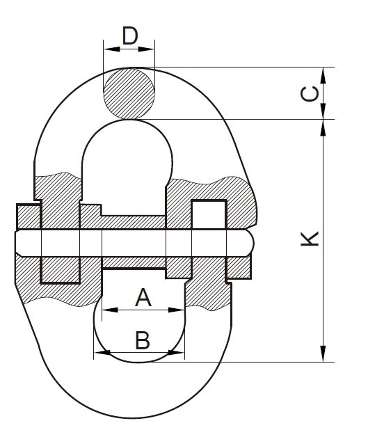
                                    Соединительное звено G100 – это грузоподъёмное соединение, изготовленное методом ковки и термообработки из высокопрочной легированной стали. Его предельная рабочая нагрузка как минимум на 25% выше, чем у изделий из стали G80. Оно в основном используется для соединения цепей, колец, крюков и других грузоподъёмных элементов из стали G100, подходит для работы в условиях прямой тяги и часто применяется при различных грузоподъёмных работах.

| Stock no. | Size (mm) | WLL (t) | Dimensions (mm) | Weight (kg) | ||||
| A | B | C | D | K | ||||
| HS1030501 | 6-10 | 1.4 | 14 | 16.9 | 8.5 | 7 | 44.5 | 0.08 | 
| HS1030502 | 7-10 | 1.9 | 18.5 | 22.5 | 10 | 8.2 | 59 | 0.16 | 
| HS1030503 | 7/8-10 | 2.5 | 18.5 | 22 | 11 | 8.5 | 59 | 0.17 | 
| HS1030504 | 8-10 | 2.5 | 18.5 | 22.7 | 10.5 | 10 | 63 | 0.18 | 
| HS1030505 | 10-10 | 4 | 23 | 22.7 | 12.6 | 12.6 | 71 | 0.34 | 
| HS1030506 | 13-10 | 6.7 | 28 | 33.2 | 16.5 | 16.5 | 92.5 | 0.68 | 
| HS1030507 | 16-10 | 10 | 33.5 | 39 | 20 | 20 | 106.5 | 1.22 | 
| HS1030508 | 20-10 | 16 | 42 | 47.3 | 25 | 25 | 123 | 2.13 | 
| HS1030509 | 22-10 | 19 | 48 | 55 | 27 | 27 | 137.5 | 3 | 
| HS1030510 | 26-10 | 26.5 | 61 | 68 | 32 | 32 | 163 | 5.2 | 
| HS1030511 | 32-10 | 39.3 | 80 | 87 | 40 | 40 | 197 | 9.55 | 
Кованая высоколегированная сталь, сертифицированная закалка и отпуск.
Адаптер для цепей G100
На 25% прочнее, чем G80
Индивидуальные контрольные испытания при условиях, в 2,5 раза превышающих предельную нагрузку
Испытания на выход при выходе, в 1,5 раза превышающую предельную нагрузку нагрузки, в течение 20 000 циклов
продукция каждой партии проходит строгие отборочные испытания и испытания на разрыв
100% обнаружены трещины магнитным потоком
Все штифты проходят 100% индивидуальный контроль и испытания.
Обработка поверхности: порошковая пластикация
Цветовой код: синий RAL5015.
Типичные области применения соединительного звена G100:
Строительство: В строительных проектах цепи G100 могут быть соединены с крюками, подъемными кольцами. и т. д. предметы, такие как элементы стальных конструкций и сборные железобетонные панели. В сочетании с подъемными устройствами, такими как башенные и гусеничные краны, тяжелые предметы можно точно поднимать на высотные здания или в специально отведенные места, что вызывает сложность строительства.
Горнодобывающая промышленность: При добыче и транспортировке грузов требуется подъемник G100. G100 может включаться для формирования подъемных цепных строп для подъема тяжелого оборудования, такого как шахтные вагонетки, а также может использоваться для подъема вспомогательного оборудования в шахтах. Прочность и надежность позволяют ему соответствовать требованиям к высокоинтенсивным и частым возрастающим нагрузкам в условиях горнодобывающей промышленности.
Судостроение и техническое обслуживание: При судостроении требуется подъем секций корпуса и крупногабаритного судового оборудования. Используется в качестве элемента цепного соединения для создания подъемной строповой системы, обеспечивающего безопасность и надежность подъемных элементов корпуса и оборудования. использовать для подъема определенные детали подъемника для ремонта или замены.
Производство тяжёлого машиностроения: В цехах тяжёлого машиностроения при сборке крупногабаритных машин и оборудования часто возникает необходимость подъёма различных тяжёлых деталей. Соединительное звено G100 может соединять цепь с кранами и другими подъёмными устройствами для точного подъёма двигателей, коробок передач и других деталей на месте, где требуется сборка и отладка оборудования.
Q1: Какие цепи подходят для соединительного звена G100?
Оно в основном подходит для цепей G100. Некоторые изделия также совместимы с цепями G80. Однако для обеспечения производительности и безопасности рекомендуется сначала использовать цепи G100.
Q3: Из каких материалов изготовлено соединительное звено G100 и как оно работает?
Обычно оно изготавливается методом ковки и термообработки из высокопрочной и высоковязкой легированной стали. Его предельная рабочая нагрузка как минимум на 25% выше, чем у изделий G80, и соответствует действующим стандартам, таким как EN 1677.
Q3: Прошло ли соединительное звено G100 тестирование качества?
Оно будет проходить строгие испытания, такие как 100% испытание на 2,5-кратную предельную рабочую нагрузку, 100% магнитопорошковый контроль на наличие трещин, испытание на разрывную нагрузку и 20 000 испытаний на усталость при 1,5-кратной предельной рабочей нагрузке для каждой партии образцов.
Q3: Какие меры предосторожности следует соблюдать при установке соединительного звена G100?
Установка должна выполняться специалистами, и подходит только для условий прямого натяжения. Во время установки убедитесь в совместимости с другими компонентами цепного стропа, надежности соединения, избегайте перегрузки или неправильной установки.
Q3: Как часто необходимо проводить техническое обслуживание и осмотр соединительного звена G100, и при каких обстоятельствах его необходимо заменять?
Рекомендуется проводить осмотр соединительного звена G100 специалистом один раз в месяц. Если износ превышает 5% от первоначального размера или деформация превышает 3% от первоначального размера, его следует заменить в установленные сроки.
Q3: Какие компоненты обычно соединяет соединительное звено G100?
Оно обычно используется для соединения грузоподъемных элементов, таких как подъемные кольца, крюки, цепи, и часто используется для сборки цепных строп и т. д.
Если у вас есть вопросы или потребности относительно продукта, пожалуйста, заполните следующую форму, и мы свяжемся с вами как можно скорее.
Аксессуары для G100
Аксессуары для G100
Аксессуары для G100
Аксессуары для G100
Аксессуары для G100
Аксессуары для G100
Аксессуары для G100
Аксессуары для G100
Аксессуары для G100
Аксессуары для G100
Аксессуары для G100
Аксессуары для G100
7-й этаж, здание 93, штаб-квартира R&F, ул. Чанчэн-Саут, д. 1, район Чэньян, город Циндао, провинция Шаньдун, Китай 266109
                Copyright © 2025 Qingdao Haosail Machinery Co., Ltd. All Rights Reserved.                  Работает на Hicheng
                
                    