Компания HAOSAIL владеет более чем 10 патентами на изобретения и 40 патентами на полезные модели, что отражает нашу приверженность исследованиям, разработкам и технологическому прогрессу.
Мы уделяем первостепенное внимание строгому контролю качества и испытаниям, чтобы гарантировать соответствие международным стандартам и требованиям клиентов.
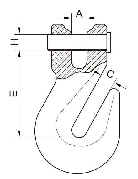
Крюк-захват типа Clevis американского типа – это крюк с U-образной скобой, обычно изготавливаемый из легированной стали, обладающий высокой прочностью и хорошей ударной вязкостью после термообработки. Размер крюка обычно составляет от 1/4 дюйма до 7/8 дюйма, поверхность может быть обработана порошковой пластификацией, оцинкована и т.д. Коэффициент запаса прочности обычно составляет 4:1, а рабочая нагрузка варьируется от 3600 до 27000 фунтов. Крюк в основном используется для связывания грузов, тяги и т.д., обеспечивая быстрое зацепление цепи и надежное соединение.
![]()
| Номер на складе | Размер (дюймы) | РД(фунты) | Размеры (мм) | Вес(кг) | ||||
| углеродистая сталь | легированная сталь | А(в) | С(в) | H(в) | И(в) | |||
| HS1050401 | 1/4 | 2600 | 3500 | 29.63 | 8.73 | 9.53 | 46.04 | 0,38 |
| HS1050402 | 5/16 | 3900 | 4700 | 12.70 | 11.11 | 9.53 | 54.77 | 0,7 |
| HS1050403 | 3/8 | 5400 | 7100 | 15.08 | 12.70 | 11.11 | 62.71 | 1.04 |
| HS1050404 | 7/16 | 7200 | 8500 | 16.67 | 14.29 | 14.29 | 70.64 | 1.31 |
| HS1050405 | 1/2 | 9200 | 12000 | 19.05 | 15.88 | 15.88 | 81.76 | 2.06 |
| HS1050406 | 5/8 | 13000 | 15800 | 23.02 | 19.05 | 19.05 | 103.98 | 4.25 |
| HS1050407 | 3/4 | 20200 | 24700 | 23.81 | 22.23 | 22.23 | 117.48 | 6.5 |
Конструкция с креплением вилкой обеспечивает простую и надежную установку. Отличительной особенностью является встроенное основание вилки — U-образный металлический кронштейн на конце стержня с предварительно просверленным отверстием. Такая конструкция позволяет быстро крепить крюк к фиксированным точкам крепления (например, D-образным кольцам прицепа, стяжным устройствам кузова грузовика или такелажным приспособлениям, таким как скобы) с помощью штифта или болта. Вилка обеспечивает жесткое, невращающееся соединение, предотвращая смещение крюка во время натяжения или транспортировки груза, что критически важно для сохранения выравнивания в условиях высоких нагрузок на транспорте в США.
Геометрия крюка-захвата обеспечивает мгновенное зацепление с цепью. В отличие от стандартных крюков, крюк-захват типа Clevis американского типа имеет специальную конструкцию горловины и челюсти, разработанную для захвата и фиксации определенных звеньев транспортных цепей (чаще всего класса G70 или G80 — отраслевого стандарта в логистике США). Узкая горловина имеет точный размер, чтобы плотно соответствовать диаметру звена цепи, а челюсть имеет небольшое углубление для надежной фиксации звена цепи. Это позволяет операторам крепить/откреплять крюк от цепи за считанные секунды (без необходимости заправки или сложного выравнивания), ускоряя процесс фиксации груза.
Конструкция из высокопрочной легированной стали (долговечность, соответствующая требованиям США). Изготовлена из термообработанной легированной стали марки G70 или выше — эталона американского такелажа для тяжёлых грузов. Сталь подвергается закалке и отпуску для повышения прочности на разрыв, ударопрочности и износостойкости, что позволяет крюку выдерживать предельные рабочие нагрузки (WLL), обычно от 5000 до 15 000 фунтов (в зависимости от размера). Такая конструкция устойчива к деформации, изгибу и растрескиванию даже при экстремальных нагрузках (например, при креплении тяжёлой техники на платформах), что соответствует строгим требованиям промышленности и транспорта США.
Крепление груза при транспортировке: При автомобильных и железнодорожных перевозках используется для фиксации груза на транспортном средстве с помощью цепи, предотвращая его смещение во время перевозки. Например, его можно установить в кузове грузовика или вагона, прикрепить к цепи с помощью U-образного зажима и зацепить за фиксированную точку на грузе, что позволяет эффективно фиксировать тяжелую технику и оборудование, строительные материалы и другие грузы.
Прицеп и тяга: может использоваться для соединения страховочной цепи между прицепом и буксируемым транспортным средством или оборудованием. Например, в автомобильном прицепе один конец крюка соединяется с прицепом, а другой – с цепью буксируемого автомобиля для обеспечения надежного соединения во время тяги и безопасности движения. Его также можно использовать для буксировки инженерного оборудования, например, экскаваторов, погрузчиков и т. д.
Промышленное подъемное оборудование: может использоваться в качестве вспомогательного подъемного инструмента на заводах, строительных площадках и других объектах. Хотя он, как правило, не используется непосредственно для подъема тяжелых предметов на высоту, его можно использовать для фиксации и соединения цепи во время подъема, для регулировки положения и угла наклона груза, а также для обеспечения плавного хода подъема. Например, при монтаже крупногабаритного оборудования с использованием других подъемных инструментов цепь фиксируется крюком, а вспомогательное оборудование точно фиксируется на месте.
Складирование и логистика: На складах он используется для фиксации цепей при перемещении и укладке грузов, что облегчает погрузку, разгрузку и укладку грузов. Например, после обвязки грузов цепями концы цепей фиксируются крюками, что удобно для работы вилочных погрузчиков и другой подъемно-транспортной техники, повышая эффективность складирования и логистики.
Сельское хозяйство: В сельскохозяйственном производстве он может использоваться для буксировки сельскохозяйственной техники или крепления сельскохозяйственной продукции. Например, в сельскохозяйственных перевозках он устанавливается на трактор для соединения и фиксации прицепной цепи для перевозки сельскохозяйственной продукции или для буксировки сельскохозяйственной техники, такой как пахотные и посевные машины, для адаптации к сложным условиям работы в полевых условиях.
Q1: Можно ли использовать этот крюк для подъёма грузов на высоте?
Обычно он не рекомендуется для подъёма грузов на высоте. Он в основном используется для подъёмных работ на небольшой высоте, таких как обвязка и тяга грузов. При необходимости подъёма грузов на высоте необходимо убедиться, что изделие имеет чёткую маркировку для работы на высоте и соответствует действующим стандартам безопасности.
Q3: Каков коэффициент запаса прочности крюка-захвата?
Коэффициент запаса прочности обычно составляет 4:1 или 6:1, то есть разрывное усилие обычно в 4 или 6 раз превышает предельную рабочую нагрузку. Подробную информацию см. на логотипе изделия или в руководстве пользователя.
Q3: Как выбрать правильный размер крюка-захвата?
Выбирайте в зависимости от размера соединяемой цепи. Обычные размеры варьируются от 1/4 дюйма до 3/4 дюйма. При этом необходимо учитывать фактическую рабочую нагрузку, чтобы убедиться, что предельная рабочая нагрузка крюка-захвата соответствует требованиям эксплуатации.
Q3: Как обработка поверхности крюка-захвата влияет на его использование?
Распространённые методы обработки поверхности включают гальванизацию (электроцинкование, горячее цинкование), порошковое покрытие и т. д. Гальванизация может повысить коррозионную стойкость и подходит для использования во влажных или слабокоррозионных средах; порошковое покрытие не только защищает от ржавчины, но и обеспечивает хорошую износостойкость, а также может использоваться в условиях интенсивного износа.
Q3: Какие проверки необходимо выполнить перед использованием?
Проверьте поверхность крюка-захвата на наличие царапин, трещин или других повреждений, убедитесь, что U-образный штифт и шплинт установлены полностью и надёжно, проверьте, соответствует ли размер раскрытия крюка-захвата указанному диапазону, и убедитесь, что отметка предельной рабочей нагрузки на крюке-захвате чёткая и соответствует требованиям эксплуатации.
Q3: Какие цепи можно использовать с крюком-захватом?
Обычно он используется с цепями классов прочности G43 и G70. Конкретные характеристики определяются в соответствии с техническими характеристиками и конструкцией крюка-захвата. Вы можете обратиться к руководству по эксплуатации или к поставщику.
Q3: Как часто необходимо проводить техническое обслуживание крюка-захвата?
Обычно рекомендуется проводить осмотр не реже одного раза в шесть месяцев. Если крюк-захват используется в тяжёлых условиях, таких как высокая температура, высокая влажность, агрессивная среда или частые работы с большими нагрузками, частоту осмотров следует увеличить, чтобы своевременно выявлять изменения в работе, вызванные износом, перегрузкой и т. д.
Если у вас есть вопросы или потребности относительно продукта, пожалуйста, заполните следующую форму, и мы свяжемся с вами как можно скорее.
Крюки и строительные фитинги американского типа
Крюки и строительные фитинги американского типа
Крюки и строительные фитинги американского типа
Крюки и строительные фитинги американского типа
Крюки и строительные фитинги американского типа
Крюки и строительные фитинги американского типа
Крюки и строительные фитинги американского типа
Крюки и строительные фитинги американского типа
Крюки и строительные фитинги американского типа
7-й этаж, здание 93, штаб-квартира R&F, ул. Чанчэн-Саут, д. 1, район Чэньян, город Циндао, провинция Шаньдун, Китай 266109
Copyright © 2025 Qingdao Haosail Machinery Co., Ltd. All Rights Reserved. Работает на Hicheng