Компания HAOSAIL владеет более чем 10 патентами на изобретения и 40 патентами на полезные модели, что отражает нашу приверженность исследованиям, разработкам и технологическому прогрессу.
Мы уделяем первостепенное внимание строгому контролю качества и испытаниям, чтобы гарантировать соответствие международным стандартам и требованиям клиентов.
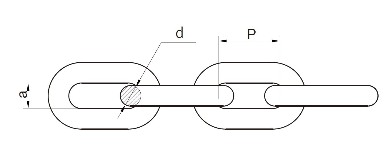
Стандартная цепь NACM96 представляет собой высококачественную цепь, соответствующую стандартам Национальной ассоциации производителей цепей (NACM) США. Он имеет номинальный диапазон нагрузки 3-15 тонн и коэффициент безопасности ≥4,5. Он предназначен для высокопрочных и высокочастотных сценариев эксплуатации. Материал изготовлен из 20CrMnTi и других легированных конструкционных сталей. После прецизионной горячей штамповки, цементации и закалки предел прочности на разрыв достигает 96 уровней (1100-1300 МПа), что более чем на 20% выше, чем у NACM90. Диаметр кольца цепи составляет 10-20 мм, шаг 50-100 мм, и он подходит для тяжелого американского подъемного оборудования. Поверхность имеет горячее цинкование (слой цинка ≥100 мкм) или нанокерамическое покрытие, и она устойчива к солевому туману в течение ≥1500 часов. Он подходит для суровых условий, таких как порты и тяжелая промышленность. Несмотря на то, что стоимость закупок на 25–35% выше, чем у NACM90, срок службы увеличен на 50% (6–9 лет), что является более экономичным в сценариях с высокой нагрузкой и высокой частотой.
![]()
| Артикул | Нормальный размер | WLL макс. | BL мин. | Внутренняя длина макс. | Внутренняя ширина мин. | Вес | |||||
| (в) | (мм) | (фунтов) | (кг) | (фунтов) | (кн) | (мм) | (в) | (мм) | (в) | (кг/м) | |
| HS1011101 | 1/8 | 4.0 | 400 | 180 | 1,600 | 7.2 | 23.9 | 0.94 | 6.4 | 0.25 | 0.28 |
| HS1011102 | 3/16 | 5.5 | 800 | 365 | 3,200 | 1.44 | 24.8 | 0.98 | 7.7 | 0.30 | 0.57 |
| HS1011103 | 1/4 | 7.0 | 1,300 | 580 | 5,200 | 23.2 | 31.5 | 1.24 | 9.8 | 0.38 | 0.92 |
| HS1011104 | 5/16 | 8.0 | 1,900 | 860 | 7,600 | 33.8 | 32.8 | 1.29 | 11.2 | 0.44 | 1.24 |
| HS1011105 | 3/8 | 10.0 | 2,650 | 1,200 | 10,600 | 47.2 | 35.0 | 1.38 | 14.0 | 0.55 | 2.07 |
| HS1011106 | 7/16 | 11.9 | 3,700 | 1,680 | 14,800 | 65.8 | 41.5 | 1.64 | 16.8 | 0.65 | 2.93 |
| HS1011107 | 1/2 | 13.0 | 4,500 | 2,030 | 18,000 | 80.0 | 45.6 | 1.79 | 18.2 | 0.72 | 3.49 |
| HS1011108 | 5/8 | 16.0 | 6,900 | 3,130 | 27,600 | 122.6 | 56.0 | 2.20 | 20.0 | 0.79 | 5.21 |
| HS1011109 | 3/4 | 20.0 | 10,600 | 4,800 | 42,400 | 188.6 | 70.0 | 2.76 | 25.0 | 0.98 | 8.14 |
| HS1011110 | 7/8 | 22.0 | 12,800 | 5,810 | 51,200 | 228.2 | 77.0 | 3.03 | 27.5 | 1.08 | 9.86 |
| HS1011111 | 1 | 26.0 | 17,900 | 8,140 | 71,600 | 318.2 | 90.9 | 3.58 | 31.7 | 1.25 | 12.56 |
| Артикул | Нормальный размер | WLL макс. | BL мин. | Внутренняя длина макс. | Внутренняя ширина мин. | Вес | |||||
| (в) | (мм) | (фунтов) | (кг) | (фунтов) | (кн) | (мм) | (в) | (мм) | (в) | (кг/м) | |
| HS1011201 | 1/4 | 7.0 | 2,600 | 1,180 | 7,800 | 34.5 | 31.5 | 1.24 | 9.8 | 0.38 | 0.92 |
| HS1011202 | 5/16 | 8.7 | 3900 | 1,770 | 11,700 | 52.0 | 32.8 | 1.29 | 11.2 | 0.44 | 1.50 |
| HS1011203 | 3/8 | 10.0 | 5,400 | 2,450 | 16,200 | 72.0 | 35.0 | 1.38 | 14.0 | 0.55 | 2.07 |
| HS1011204 | 7/16 | 11.9 | 7,200 | 3,270 | 21,600 | 96.0 | 41.6 | 1.64 | 16.6 | 0.65 | 2.93 |
| HS1011205 | 12 | 13.0 | 9,200 | 4,170 | 27,600 | 122.6 | 45.5 | 1.79 | 18.2 | 0.72 | 3.50 |
| HS1011206 | 5/8 | 16.0 | 13,000 | 5,910 | 39,000 | 173.0 | 56.0 | 2.20 | 20.0 | 0.79 | 5.21 |
| HS1011207 | 3/4 | 20.0 | 20,200 | 9,180 | 60,600 | 269.4 | 70.0 | 2.76 | 25.0 | 0.98 | 8.14 |
| HS1011208 | 7/8 | 22.0 | 24,500 | 11,140 | 73,500 | 326.6 | 77.0 | 3.03 | 27.5 | 1.08 | 9.86 |
| Артикул | Нормальный размер | WLL макс. | BL мин. | Внутренняя длина макс. | Внутренняя ширина мин. | Вес | |||||
| (в) | (мм) | (фунтов) | (кг) | (фунтов) | (кн) | (мм) | (в) | (мм) | (в) | (кг/м) | |
| HS1011301 | 1/4 | 7.0 | 3,150 | 1,430 | 12,600 | 56.0 | 31.5 | 1.24 | 9.8 | 0.38 | 0.92 |
| HS1011302 | 5/16 | 8.7 | 4,700 | 2,130 | 18,800 | 83.6 | 32.8 | 1.29 | 11.2 | 0.44 | 1.50 |
| HS1011303 | 3/8 | 10.0 | 6,600 | 2,990 | 26,400 | 117.4 | 35.0 | 1.38 | 14.0 | 0.55 | 2.07 |
| HS1011304 | 7/16 | 11.9 | 8,750 | 3,970 | 35,000 | 155.4 | 41.6 | 1.64 | 16.6 | 0.65 | 2.93 |
| HS1011305 | 1/2 | 13.0 | 11,300 | 5,130 | 45,200 | 200.8 | 45.5 | 1.79 | 18.2 | 0.72 | 3.49 |
| HS1011306 | 5/8 | 16.0 | 15,800 | 7,170 | 63,200 | 280.8 | 56.0 | 2.20 | 20.0 | 0.79 | 5.21 |
| HS1011307 | 3/4 | 20.0 | 24,700 | 11,200 | 98,800 | 439.2 | 70.0 | 2.76 | 25.0 | 0.98 | 8.14 |
Расширенные технические характеристики, адаптация для тяжелых условий эксплуатации. Диаметр кольца цепи составляет 10-20 мм (8-16 мм для NACM90), шаг - 50-100 мм, а 15-тонная 10-метровая цепь - около 35 кг (около 25 кг для 10-тонной NACM90). Он подходит для тяжелых кранов, портовых кранов и другого оборудования. Например, цепь с шагом 120 мм может быть точно зацеплена с 40-тонным американским краном, в то время как NACM90 не может быть адаптирован к тяжелой технике весом более 10 тонн из-за ограничений по спецификациям.
Усиленное соединение, безопасное резервирование. Оснащен кованой цельной соединительной пряжкой (NACM90 в сборе), прочность на разрыв соответствует кольцу цепи (≥1300 МПа), а время подключения составляет ≤25 секунд (на 15% быстрее, чем NACM90). Двойные предохранительные штифты добавлены для предотвращения случайного отсоединения, что обеспечивает дополнительную гарантию безопасности по сравнению с NACM90 в сценариях с высоким риском, таких как морской подъем.
Улучшенная защита, устойчивость к окружающей среде. Модель с нанокерамическим покрытием устойчива к солевому туману в течение ≥1500 часов (1000 часов для горячего цинкования NACM90) и может использоваться в течение длительного времени в морской среде с высоким содержанием соли. Высокотемпературная модель выдерживает температуру 200 °C (100 °C для NACM90), подходит для подъема стальных заготовок на металлургических заводах, а цикл технического обслуживания продлевается до каждые 2 месяца (ежемесячно для NACM90).
Погрузка и разгрузка тяжелых грузов в портах. Порты поднимают 10-15 тонные контейнеры. Цепи NACM96 работают с причальными кранами для выполнения 80-100 подъемов в день. Его высокая прочность выдерживает ударную нагрузку, вызванную тряской судна, а срок его службы в два раза больше, чем у NACM90 (сокращение времени простоя и замены).
Тяжелое машиностроение. Подъем 12-тонных станков станка. Высокоточные цепные кольца NACM96 (погрешность шага ≤0,5 мм) обеспечивают плавный подъем и работают с сверхмощными мостовыми кранами для достижения позиционирования на уровне 0,1 мм, в то время как NACM90 подвержен небольшой деформации при больших нагрузках, что влияет на точность.
Морская техника. На морских платформах устанавливают стальные конструкции весом 5-15 тонн. Цепи с нанокерамическим покрытием устойчивы к коррозии морской воды. После 1500 часов испытаний в солевом тумане снижение производительности составляет ≤5%. NACM90 показывает явную ржавчину через 3 месяца в той же среде.
Q1: Как выбрать между NACM90 и NACM90?
A: Выбирайте NACM96 (например, в портах), если средняя ежедневная частота подъёма грузов превышает 15 раз, а нагрузка превышает 8 тонн; выбирайте NACM90 (например, на заводах), если частота подъёма грузов низкая (≤15 раз), а нагрузка менее 8 тонн. Срок службы NACM96 для 10-тонного портового оборудования составляет 6 лет, тогда как NACM90 — всего 4 года, что обеспечивает более низкую общую стоимость.
Q3: Меры предосторожности при использовании в условиях высоких температур?
A: Выбирайте высокотемпературную модель (допуск 200°C), меняйте высокотемпературную смазку (температура каплепадения ≥250°C) раз в квартал и избегайте использования в условиях температур выше 300°C (это приведёт к снижению прочности на 15%).
Q3: Как бороться с ослаблением соединений?
A: Немедленно остановите машину, замените соединительный элемент новым (не подлежит ремонту) и проверьте, не повреждены ли соседние звенья цепи. Соединительный элемент NACM96 — это одноразовая кованая деталь, которую сложнее ремонтировать, чем сборный элемент NACM90, но он более безопасен.
Если у вас есть вопросы или потребности относительно продукта, пожалуйста, заполните следующую форму, и мы свяжемся с вами как можно скорее.
Цепи
7-й этаж, здание 93, штаб-квартира R&F, ул. Чанчэн-Саут, д. 1, район Чэньян, город Циндао, провинция Шаньдун, Китай 266109
Copyright © 2025 Qingdao Haosail Machinery Co., Ltd. All Rights Reserved. Работает на Hicheng