Компания HAOSAIL владеет более чем 10 патентами на изобретения и 40 патентами на полезные модели, что отражает нашу приверженность исследованиям, разработкам и технологическому прогрессу.
Мы уделяем первостепенное внимание строгому контролю качества и испытаниям, чтобы гарантировать соответствие международным стандартам и требованиям клиентов.
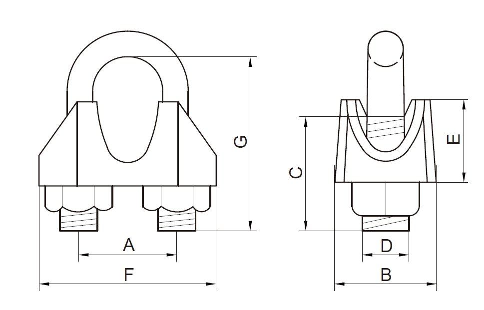
Зажимы для троса DIN741 представляют собой соединительные и фиксирующие приспособления для троса, изготовленные в соответствии с немецким стандартом DIN741. Они состоят из U-образных болтов, зажимов (седловых опор) и гаек. Два конца троса фиксируются зажимным усилием, образуя прочную петлю, предотвращающую проскальзывание троса. Материалы, из которых изготавливаются, в основном: углеродистая сталь (гальванизированная/горячеоцинкованная), нержавеющая сталь 304 и нержавеющая сталь 316: углеродистая сталь является недорогой и подходит для сухих промышленных сред; нержавеющая сталь 304 устойчива к обычной влажной коррозии; нержавеющая сталь 316 устойчива к соляному туману, кислотам и щелочам, а также подходит для использования в морских и химических средах. Технические характеристики охватывают диапазон от 6 мм до 50 мм, подходят для тросов различного диаметра и широко используются там, где требуются надежные соединения, например, в подъемных работах, строительстве и на судах.
![]()
| Номер на складе | РАЗМЕР (мм) | А (мм) | В (мм) | С (мм) | Д (мм) | Е (мм) | Ф (мм) | Г (мм) |
| HS4030101 | 3 | 9 | 10 | 12 | 4 | 10 | 21 | 16 |
| HS4030102 | 4 | 10 | 10 | 12 | 4 | 10 | 22 | 17 |
| HS4030103 | 5 | 11 | 11 | 13 | 5 | 10 | 23 | 19 |
| HS4030104 | 6 | 13 | 12 | 15 | 5 | 11 | 26 | 23 |
| HS4030105 | 8 | 16 | 14 | 19 | 6 | 15 | 30 | 28 |
| HS4030106 | 10 | 19 | 18 | 22 | 8 | 17 | 34 | 34 |
| HS4030107 | 12 | 20 | 19 | 22 | 8 | 18 | 36 | 36 |
| HS4030108 | 14 | 25 | 23 | 30 | 10 | 22 | 44 | 47 |
| HS4030109 | 16 | 29 | 26 | 33 | 12 | 26 | 50 | 51 |
| HS4030110 | 19 | 32 | 29 | 38 | 12 | 30 | 54 | 63 |
| HS4030111 | 22 | 37 | 33 | 44 | 14 | 34 | 61 | 71 |
Строгие стандарты и высокая точность: строгое соблюдение стандарта DIN741, размер U-образного болта, дуга седла зажима и диаметр троса точно подобраны, что обеспечивает равномерное усилие после зажима, отсутствие повреждений троса из-за локального выдавливания, а надежность соединения значительно выше, чем у нестандартных деталей.
Коррозионная стойкость материала и широкая приспособляемость: После оцинковки углеродистая сталь становится устойчивой к ржавчине и долговечной в сухих и слегка влажных средах, демонстрируя превосходные экономические показатели; нержавеющая сталь марки 304 устойчива к атмосферной коррозии и подходит для использования в наружных зданиях; нержавеющая сталь марки 316 содержит элементы молибдена и обладает превосходной стойкостью к солевому туману, а также может использоваться в течение длительного времени в морской воде и химических средах.
Прочная конструкция: U-образный болт и опорная поверхность зажима образуют плотное зажимное соединение с большой площадью контакта и высоким трением. Он выдерживает нагрузку в несколько тонн (например, M20 выдерживает 20 тонн) и не ослабевает при подъёме тяжёлых грузов, что значительно превосходит фиксирующую способность обычных канатных зажимов.
Удобный монтаж и простота эксплуатации: не требуются специальные инструменты, гайки можно закрепить вручную, их можно использовать повторно (после проверки на отсутствие деформации), что позволяет быстро устанавливать и регулировать их на месте, а также повышает эффективность работы.
Сведения о безопасности: Защита троса: изогнутая внутренняя сторона гнезда зажима плотно прилегает к поверхности троса, чтобы избежать разрыва проволоки в результате острого контакта; край закруглен, чтобы не поцарапать трос или оператора во время установки.
Промышленные подъемные работы: соединение крюка крана и троса в заводских цехах, фиксация кольца подъемного троса тяжелого оборудования (например, станков и пресс-форм), обеспечение того, чтобы трос не проскальзывал во время подъема, подходит для подъемных операций весом 10–50 тонн.
Строительство зданий и мостов: крепление конца троса башенного крана, присоединение страховочного троса лесов, а также временное крепление троса вантового моста, обеспечивая надежное соединение при работе на высоте и предотвращая эрозию под воздействием ветра и дождя.
Судовые и морские операции: крепление тросов на палубах судов и соединение швартовного оборудования в доках. Модель из нержавеющей стали марки 316 устойчива к коррозии в морской воде, предотвращает ослабление троса под воздействием волн и обеспечивает безопасность швартовки судов.
Горнодобывающая промышленность и логистика: соединение каната шахтного подъёмника и ковша, а также обвязочный канат для фиксации тяжёлых предметов, таких как сталь и оборудование, при транспортировке грузовым транспортом. Усилие зажима позволяет компенсировать изменения натяжения, вызванные неровностями дороги.
Q1: Как определить количество зажимов и направление установки?
A: В зависимости от диаметра троса используйте 2 зажима для диаметра ≤10 мм, 3 зажима для диаметра 10–20 мм и ещё 1 зажим на каждые 10 мм свыше 20 мм. При установке седло зажима должно быть обращено к стороне основного троса (концу, несущему нагрузку), а U-образный болт должен сгибать головку троса, чтобы избежать недостаточного усилия зажима, вызванного обратным направлением седла зажима.
Q3: Как контролировать степень натяжения?
A: Рекомендуется сплющить трос на 1/3 (например, трос диаметром 12 мм сплющить до 8 мм). Слишком слабое натяжение приведет к сползанию, а слишком сильное — к повреждению троса. После первого натяжения необходимо повторно натянуть его через 1–2 раза, чтобы компенсировать ослабление, вызванное упругой деформацией троса.
Q3: Какие детали необходимо проверить перед повторным использованием?
A: Проверьте, не деформирован ли U-образный болт, целостна ли резьба, нет ли трещин или износа в гнезде зажима, не отслоился ли оцинкованный слой (модель из углеродистой стали). При наличии деформации или повреждений зажим необходимо заменить, и он больше не подлежит использованию.
Q3: Как выбрать между нержавеющей сталью 316 и углеродистой сталью?
A: Выбирайте оцинкованную углеродистую сталь (недорогую) для сухих цехов и зданий, расположенных на суше; нержавеющую сталь 316 (коррозионностойкую, со сроком службы более чем в 5 раз превышающим срок службы углеродистой стали) для прибрежных зон, химических заводов и влажных открытых зон, чтобы избежать снижения силы зажима из-за ржавчины.
Q3: Q5: Можно ли использовать этот тип для синтетических канатов?
A: Не рекомендуется. Твёрдость синтетических канатов ниже, чем у стальных, и сила зажима канатных зажимов DIN741 может привести к обрыву волокон. Необходимо выбирать мягкие канатные зажимы, специально разработанные для синтетических канатов.
Если у вас есть вопросы или потребности относительно продукта, пожалуйста, заполните следующую форму, и мы свяжемся с вами как можно скорее.
Зажим для троса
Зажим для троса
Зажим для троса
Зажим для троса
Зажим для троса
Зажим для троса
Зажим для троса
7-й этаж, здание 93, штаб-квартира R&F, ул. Чанчэн-Саут, д. 1, район Чэньян, город Циндао, провинция Шаньдун, Китай 266109
Copyright © 2025 Qingdao Haosail Machinery Co., Ltd. All Rights Reserved. Работает на Hicheng