Компания HAOSAIL владеет более чем 10 патентами на изобретения и 40 патентами на полезные модели, что отражает нашу приверженность исследованиям, разработкам и технологическому прогрессу.
Мы уделяем первостепенное внимание строгому контролю качества и испытаниям, чтобы гарантировать соответствие международным стандартам и требованиям клиентов.
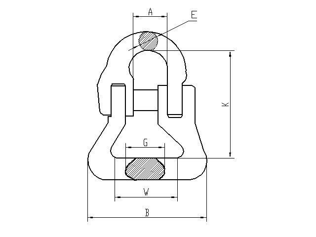
G80 WEBBING CONNECTING LINK также называют соединительным устройством для ремня. Он изготовлен из кованой легированной стали, выкован под давлением, закален и отпущен, а поверхность окрашена или оцинкована. Он обладает высокой прочностью и долговечностью и соответствует стандартам EN 1677-4. Диапазон размеров обычно составляет от 6 мм до 32 мм и может быть настроен по индивидуальному заказу. Он в основном используется в подъемной промышленности для соединения цепей, главных колец или поворотных колец и т. Д. Его можно использовать отдельно или в сочетании с другим такелажем.
![]()
| Артикул | Размер ( мм ) | WLL (t) | А (мм ) | B ( мм ) | К ( мм ) | Ш (мм ) | G ( мм ) | E ( мм ) | Вес (кг) |
| HS1020801 | 6-8 | 1.12 | 15.2 | 60.0 | 56.0 | 40.0 | 18.0 | 7.5 | 0.20 |
| HS1020802 | 7/8-8 | 2.0 | 20.0 | 61.5 | 63.7 | 40.0 | 24.0 | 9.5 | 0.30 |
| HS1020803 | 10-8 | 3.2 | 24.0 | 66.0 | 83.0 | 39.0 | 30.5 | 11.0 | 0.68 |
| HS1020804 | 13-8 | 5.3 | 28.0 | 88.0 | 93.7 | 55.0 | 36.8 | 16.5 | 1.47 |
| HS1020805 | 16-8 | 8.0 | 36.0 | 131.1 | 115.4 | 80.2 | 42.0 | 20.0 | 2.30 |
| HS1020806 | 20-8 | 12.5 | 42.0 | 129.0 | 138.0 | 80.0 | 51.8 | 24.5 | 3.30 |
| HS1020807 | 22-8 | 15.0 | 49.0 | 191.0 | 180.0 | 126.0 | 80.0 | 24.5 | 6.89 |
| HS1020808 | 26-8 | 21.2 | 58.5 | 228.4 | 209.0 | 152.0 | 82.0 | 31.5 | 10.62 |
| HS1020809 | 32-8 | 31.5 | 67.5 | 252.0 | 279.0 | 160.0 | 91.0 | 38.5 | 18.92 |
Материал: кованая суперлегированная сталь
100% протестировано при 2,5-кратном пределе рабочей нагрузки
100% обнаружение трещин Magnaflux
Тест на разрыв выборки для каждой партии
Усталостные испытания при 1,5-кратном пределе рабочей нагрузки для 20000 циклов
Штифты представляют собой 100% вихретоковый дефектоскопию
Подходит для стропа EN1492-2 и цепи EN818-2 G80
G80 WEBBING СОЕДИНИТЕЛЬНОЕ ЗВЕНО в основном используется в области подъема и подъема. Он может соединять такелажные детали, такие как цепи, подъемные кольца, крюки, тросы или подъемные ремни из синтетического волокна. Соединяя эти детали вместе, они собираются в стропы различных форм для подъема и перемещения тяжелых предметов и оборудования.
Он широко используется в машиностроении, металлургии, электроэнергетике, железных дорогах, водном хозяйстве, портах, доках и других отраслях промышленности. Например, он используется для погрузки и разгрузки товаров в портах, для подъема стали в металлургической промышленности, для подъема энергетического оборудования в энергетической отрасли.
Q1: Из какого материала изготовлено изделие?
Обычно изготавливается из кованой легированной стали, закаленной и отпущенной для достижения максимальной прочности на разрыв в соответствии со стандартом EN 1677-4.
Q3: Каков предел рабочей нагрузки?
Предельная рабочая нагрузка указана на корпусе изделия. Максимальная проверочная нагрузка обычно в 2,5 раза превышает предельную рабочую нагрузку, а минимальная прочность на разрыв — в 4 раза.
Q3: Какая обработка поверхности?
Обычно поверхность покрывается порошковым покрытием. Цвета: желтый (RAL1003) или красный (RAL3020) и т. д. Другие цвета доступны по запросу.
Q3: Для каких целей подходит?: В основном используется в подъемной отрасли, может крепиться к цепям, основным кольцам, поворотным кольцам и т. д., часто используется вместе с ленточным стропом.
Q2: Что необходимо проверить перед использованием?
Перед использованием проверьте изделие на наличие трещин, деформацию более 10 градусов и износ более 10%. При наличии вышеуказанных условий его использование запрещено.
Q3: Прошел ли продукт контроль качества?
Каждая деталь проходит тщательные испытания, включая испытание под нагрузкой, в 2,5 раза превышающей предельную рабочую нагрузку, 100% магнитопорошковую дефектоскопию и контроль штифтом для обеспечения стабильной твердости.
Если у вас есть вопросы или потребности относительно продукта, пожалуйста, заполните следующую форму, и мы свяжемся с вами как можно скорее.
Аксессуары для G80
Аксессуары для G80
Аксессуары для G80
Аксессуары для G80
Аксессуары для G80
Аксессуары для G80
Аксессуары для G80
Аксессуары для G80
Аксессуары для G80
Аксессуары для G80
Аксессуары для G80
Аксессуары для G80
7-й этаж, здание 93, штаб-квартира R&F, ул. Чанчэн-Саут, д. 1, район Чэньян, город Циндао, провинция Шаньдун, Китай 266109
Copyright © 2025 Qingdao Haosail Machinery Co., Ltd. All Rights Reserved. Работает на Hicheng