 
                    
        Компания HAOSAIL владеет более чем 10 патентами на изобретения и 40 патентами на полезные модели, что отражает нашу приверженность исследованиям, разработкам и технологическому прогрессу.
Мы уделяем первостепенное внимание строгому контролю качества и испытаниям, чтобы гарантировать соответствие международным стандартам и требованиям клиентов.
 
                                     
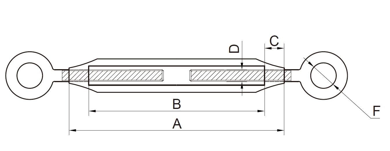
                                    Талреп типа JIS с петлей и ушком - это профессиональный такелаж, изготовленный в соответствии с японскими промышленными стандартами (JIS). Он имеет кольцевые рым-пряжки на обоих концах, которые изготовлены по технологии ковки. Они прочно соединены с кольцами троса, скобами и т. д. и обладают хорошим противопадающим эффектом. Средняя рама оснащена регулировочным корпусом с левой и правой резьбой, который может точно изменять расстояние между двумя концами путем вращения, чтобы добиться точного контроля натяжения. Обычные материалы включают сталь 45#, углеродистую сталь Q235 и настраиваемую легированную сталь и т. д. с различными методами обработки поверхности, включая оцинкование, горячее цинкование и т. д., для повышения коррозионной стойкости изделия. Процесс ковки повышает прочность изделия, и его можно адаптировать к различным соединителям, таким как стальные тросы и тяги. Он может стабильно работать в вибрационной среде и является надежным инструментом для регулировки натяжения в таких отраслях, как промышленность, строительство и судостроение.

| Номер на складе | Размер (D) | ТЛ | Размеры ( мм ) | Вес(кг) | ||||
| А | Б | С | Ф | |||||
| (мм) | (в) | (т) | ||||||
| HS2021501 | 6 | 1/4 | 0.1 | 100 | 78 | 11 | 10 | 0,12 | 
| HS2021502 | 8 | 5/16 | 0,2 | 125 | 100 | 12.5 | 12 | 0,22 | 
| HS2021503 | 9 | 3/8 | 0,5 | 150 | 120 | 12.5 | 16 | 0,3 | 
| HS2021504 | 12 | 1/2 | 2 | 200 | 164 | 18 | 20 | 0,58 | 
| HS2021505 | 16 | 5/8 | 3 | 250 | 202 | 21.5 | 22 | 1.07 | 
| HS2021506 | 19 | 3/4 | 4 | 300 | 250 | 25 | 28 | 1.77 | 
| HS2021507 | 22 | 7/8 | 5 | 325 | 269 | 28 | 33 | 2.55 | 
| HS2021508 | 25 | 1 | 6 | 350 | 285 | 32,5 | 35 | 3.79 | 
| HS2021509 | 32 | 1-1/4 | 10 | 400 | 310 | 45 | 36 | 7.6 | 
| HS2021510 | 38 | 1-1/2 | 15 | 450 | 350 | 55 | 40 | 13.5 | 
Надежное соединение: застежка-пряжка с кольцевым ушком надежно соединена, что обеспечивает безопасное использование и не допускает ее ослабления или отсоединения.
Точная регулировка: лево-правая структура нити позволяет осуществлять мелкомасштабную высокоточную регулировку натяжения в соответствии с потребностями различных сценариев.
Высокая грузоподъемность: изготовленный из высокопрочной стали, он обладает большой несущей способностью и может выдерживать нагрузки от сотен килограммов до нескольких тонн.
Высокая коррозионная стойкость: после оцинкования или горячего цинкования углеродистая сталь также обладает хорошей коррозионной стойкостью и подходит для различных сред.
Устойчивость к вибрации и стабильность: нити плотно сцеплены и могут сохранять устойчивость в условиях вибрации, эффективно предотвращая ослабление.
Простота установки: совместим с различными распространенными разъемами, отличается простотой установки и высокой универсальностью.
Талреп рамный типа JIS с проушиной и петлей широко используется в:
Судостроение: используется для крепления судового оборудования и регулирования натяжения швартовных канатов для обеспечения безопасности швартовки и мореплавания судов.
Строительная отрасль: обеспечивает поддержку при возведении лесов, регулирует натяжение стяжек стальных конструкций и стабилизирует строительные конструкции.
Промышленные сценарии: ремонт тяжелой техники и оборудования для предотвращения смещения; регулировка натяжения оборудования производственной линии для обеспечения бесперебойного производства.
Энергетика: используется для регулирования натяжения тросов опор линий электропередачи с целью обеспечения устойчивости линий электропередачи.
Строительство мостов: играет роль в калибровке натяжения тросов и укреплении временных опорных систем.
Q1: Как выбрать подходящую спецификацию?
Выбирайте скобу в соответствии с максимальной нагрузкой при фактической эксплуатации. Например, если вы поднимаете груз массой 10 тонн, вам необходимо выбрать скобу с предельной рабочей нагрузкой более 10 тонн. При этом сверяйтесь с размерами, указанными в параметрах изделия, чтобы убедиться в её совместимости с соединяемыми тросами, цепями и т. д.
Q3: Каков диапазон рабочих температур?
Скоба сертифицирована для использования в условиях от -40°C (-40°F) до 204°C (400°F). Превышение этого диапазона температур может повлиять на эксплуатационные характеристики материала и безопасность соединения.
Q3: Какие меры предосторожности необходимо соблюдать при установке и снятии?
Во время установки обязательно затягивайте резьбовой штифт, чтобы предотвратить его ослабление; при снятии избегайте резких движений, чтобы не повредить резьбу. Перед использованием и во время использования регулярно проверяйте резьбу и наличие трещин на корпусе.
Q3: Могут ли быть предоставлены соответствующие сертификаты?
Некоторые производители могут предоставлять сертификаты сертификации по определенным стандартам, таким как ABS, DNV, Lloyds и т. д., которые необходимо запрашивать при размещении заказа и которые могут повлечь за собой дополнительные расходы.
Если у вас есть вопросы или потребности относительно продукта, пожалуйста, заполните следующую форму, и мы свяжемся с вами как можно скорее.
Талреп
7-й этаж, здание 93, штаб-квартира R&F, ул. Чанчэн-Саут, д. 1, район Чэньян, город Циндао, провинция Шаньдун, Китай 266109
                Copyright © 2025 Qingdao Haosail Machinery Co., Ltd. All Rights Reserved.                  Работает на Hicheng
                
                    